Моделирование электрооптического повторителя субнаносекундных радиоимпульсов
https://doi.org/10.32362/2500-316X-2022-10-1-50-59
Аннотация
Цели. Целью данной работы является построение и анализ программно-численной модели электрооптического повторителя радиоимпульсов, обеспечивающего восстановление импульсного радиоизображения за однократный прием в условиях воздействия аддитивных шумов с достижением субнаносекундного разрешения.
Методы. Использованы численные методы схемотехнического анализа, лежащие в основе специализированных систем автоматизированного проектирования, численные методы статистической радиотехники.
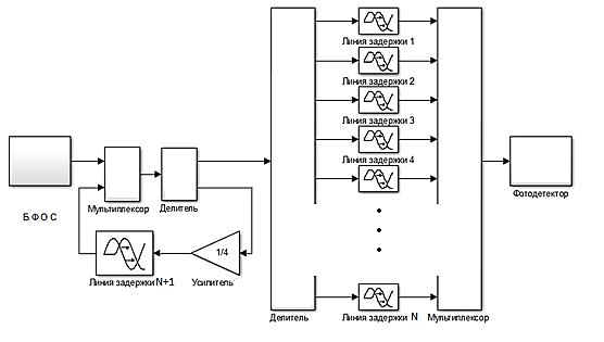
Результаты. Построена радиофотонная схема повторителя радиоимпульсов, реализуемая на принципе дробного мультиплексирования с обратной задержанной связью. Разработаны программные модели инфраоптических повторителей в среде Simulink (Trial Version Soft), позволяющие анализировать и исследовать эффективность метода оптической регенерации радиоимпульсов при помощи схемы дробного мультиплексирования с задержанной обратной связью. Показано, что схемы повторителей, реализуемые на принципах дробного мультиплексирования с задержанной обратной связью, способны эффективно решить научно-практическую задачу многократного зондирования объектов сверхкороткими импульсами для получения радиоизображения цели с достоверной воспроизводимостью. В ходе численного моделирования установлено, что двух- и четырехкаскадные схемы линий обратной задержки не обеспечивают надежной воспроизводимости в случае восстановления сверхкороткого импульса (СКИ) со сложным временным профилем. В то же время схема с каскадом из 8 линий задержки справляется с поставленной задачей, обеспечивая корреляционную воспроизводимость более 0.9. При этом схема электрооптического повторителя с каскадом из 16 линий задержки не дает весомого вклада в повышение точности восстановления СКИ относительно схемы с каскадом из 8 линий, поэтому последнюю можно определить в качестве оптимального решения. Предложен электрооптический метод решения радиотехнической задачи стробоскопической регистрации и восстановления сверхкоротких радиоимпульсов субнаносекундной длительности, составляющих сигнатуру радиоизображения динамических объектов для систем активного радиовидения.
Выводы. Установлено, что электрооптический повторитель с 8 линиями задержки за 30 итераций способен восстановить сложный импульс, отраженный от цели с коэффициентом корреляции больше 0.9 между эталонным и восстановленным импульсом при отношении сигнал/шум не менее 9 дБ.
Об авторах
А. В. ШильцинРоссия
Шильцин Артем Викторович, аспирант кафедры конструирования и производства радиоэлектронных средств Института радиоэлектроники и информатики
Scopus Author ID 57194330958
119454, Москва, пр-т Вернадского, д. 78
М. С. Костин
Россия
Костин Михаил Сергеевич, д.т.н., доцент, профессор кафедры конструирования и производства радиоэлектронных средств Института радиоэлектроники и информатики
Scopus Author ID 57208434671
119454, Москва, пр-т Вернадского, д. 78
Список литературы
1. Тимановский А.Л., Пирогов Ю.А. Сверхразрешение в системах пассивного радиовидения: монография. М.: Радиотехника; 2017. 160 с. ISBN 978-5-93108-153-3
2. Костин М.С., Викулов В.М., Тамбовский С.С. Формовременная динамика субнаносекундных радиоимпульсов при распространении в гетерогенных средах. Радиотехника и электроника. 2019;64(2):116−122. https://doi.org/10.1134/S0033849419020086
3. Taylor J.D. Ultrawideband Radar: Applications and Design. USA: CRC Press; 2012. 536 p.
4. Радзиевский В.Г., Трифонов П.А. Обработка сверхширокополосных сигналов и помех. М.: Радиотехника; 2009. 288 с. ISBN 978-5-88070-231-2
5. Лазоренко О.В., Черногор Л.Ф. Сверхширокополосные сигналы и физические процессы. 1. Основные понятия, модели и методы описания. Радиофизика и радиоастрономия. 2008;13(2):166−194.
6. Дьяконов В.П. SIMULINK 5/6/7: самоучитель. М.: ДМК-Пресс; 2008. 784 с. ISBN 978-594074-423-8
7. Gibran J., Shoushun C. A 40 nm CMOS T/H-less flash-like stroboscopic ADC with 23dB THD and >50 GHz effective resolution bandwidth. In: 2017 IEEE International Symposium on Circuits and Systems (ISCAS). 2017. https://doi.org/10.1109/ISCAS.2017.8050486
8. Шильцин А.В., Марков Д.В., Латышев К.В., Петленко Д.Б. Моделирование электрооптических повторителей субнаносекундных импульсов с обратной задержанной связью и дробным мультиплексированием. Оборонный комплекс – научно-техническому прогрессу России. 2020;2(146):51–56.
9. Костин М.С., Бойков К.А., Котов А.Ф. Высокоточные методы циклоподобной атактовой оцифровки субнаносекундных сигналов. Радиотехника и электроника. 2019;64(2):191−194. https://doi.org/10.1134/S0033849419020104
10. Костин М.С., Воруничев Д.С. Регистрация финитных радиоизображений в сигнальном радиовидении субнаносекундного разрешения. Радиотехника и электроника. 2021;66(9):872−883. https://doi.org/10.31857/S0033849421090072
11. Костин М.С., Бойков К.А., Стариковский А.И. Циклоподобная регенерация субнаносекундных радиоимпульсов. Вестник РАЕН. 2018;18(3):107−113.
12. Зайцев Д.Ф. Нанофотоника и ее применение. М.: Актеон; 2012. 445 с. ISBN 978-5-9905835-2-8
13. Бейли Д., Райт Э. Волоконная оптика: теория и практика: пер. с англ. М.: КУДИЦ-ПРЕСС; 2008. 320 с.
Дополнительные файлы
|
|
1. Модель электрооптического повторителя сигналов сверхкороткого испульса с обратной задержанной связью и дробным мультиплексированием | |
| Тема | ||
| Тип | Исследовательские инструменты | |
Посмотреть
(35KB)
|
Метаданные ▾ | |
- Целями работы являлись построение и анализ программно-численной модели электрооптического повторителя радиоимпульсов, обеспечивающего восстановление импульсного радиоизображения за однократный прием в условиях воздействия аддитивных шумов с достижением субнаносекундного разрешения.
- Построена радиофотонная схема повторителя радиоимпульсов, реализуемая на принципе дробного мультиплексирования с обратной задержанной связью.
- Показано, что схемы повторителей, реализуемые на принципах дробного мультиплексирования с задержанной обратной связью, способны эффективно решить научно-практическую задачу многократного зондирования объектов сверхкороткими импульсами для получения радиоизображения цели с достоверной воспроизводимостью.
- Установлено, что электрооптический повторитель с 8 линиями задержки за 30 итераций способен восстановить сложный импульс, отраженный от цели с коэффициентом корреляции больше 0.9 между эталонным и восстановленным импульсом при отношении сигнал/шум не менее 9 дБ.
Рецензия
Для цитирования:
Шильцин А.В., Костин М.С. Моделирование электрооптического повторителя субнаносекундных радиоимпульсов. Russian Technological Journal. 2022;10(1):50-59. https://doi.org/10.32362/2500-316X-2022-10-1-50-59
For citation:
Shiltsin A.V., Kostin M.S. Simulation of subnanosecond radio pulse electro-optical repeater. Russian Technological Journal. 2022;10(1):50-59. https://doi.org/10.32362/2500-316X-2022-10-1-50-59
JATS XML


























